Odpowiedz 
 
Ocena wątku:
  • 1 Głosów - 1 Średnio
  • 1
  • 2
  • 3
  • 4
  • 5
Moje radio ( ADAŚ )
SP2SGA Offline
Adam
***

Liczba postów: 110
Dołączył: 10-02-2014
Post: #1
Moje radio ( ADAŚ )
Witam wszystkich kolegów majsterkowiczów.
Od dłuższego już czasu siedzę nad budową transceivera
własnej roboty. Przyznam, że efekt jaki uzyskałem
mnie w pełni zadowala i pozostała mi praca nad częścią
nadawczą. Ale to już pestka.
Mam pytanie do kolegów co wiedzą dużo więcej niż ja w tym temacie.
jaka powinna być nastawiona częstotliwość pilotów do załączonego
schematu filtra kwarcowego. Filtr niecałe 2,4 k dla -3db ?
Wykres w załączniku. Rozumiem, że teoretycznie + i - 1,2 khz.
Ale chodzi mi o cyfry. W jakim dokładnie miejscu powinny stać piloty ??
Obecnie ustawione mam na ucho a dokładnie zweryfikuję w nadajniku.
Ale chodzi mi o teorię. Kiedyś dla PP9 były załączane 2 piloty
na 89985 i na 90015. Z praktyki wiem, że cyferki wyglądały inaczej
w zależności od egzemplarza.
W związku z tym, że ostatnio wieje tu nudą Smile postanowiłem
załączyć część dokumentacji mojego ADASIA Smile.
P.S
Filtr był mierzony na załączonym tłumiku 20db.

Pozdrawiam i dziękuję za wyczerpujące informacje

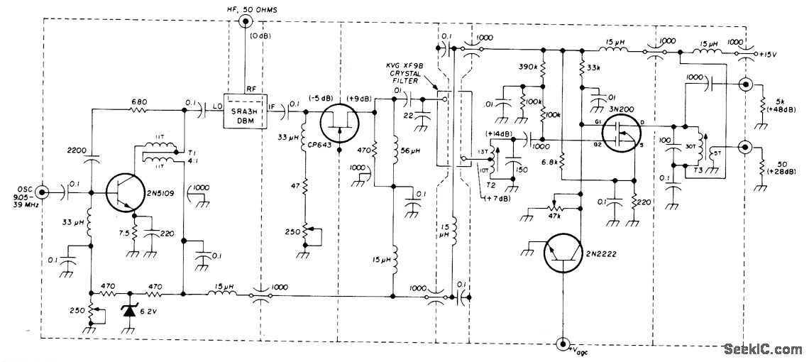
Radio
Obwody wejściowe SP2JJH
Mieszacz SP9RG
Pośrednia F6CER
za p.cz czterokwarcowy filtr
PR dettekt w/g SP4HKQ na AD831
Wzm.mcz zaczerpnięty z HUSARKA


Załączone pliki Miniatury
İmage

.pdf  FILTR2.4.pdf (Rozmiar: 18.88 KB / Pobrań: 1596)
.pdf  p.cz.pdf (Rozmiar: 294.27 KB / Pobrań: 2540)

Pozdrawiam
Adam
SP2SGA
(Ten post był ostatnio modyfikowany: 25-11-2015 2:39 przez SP2SGA.)
25-11-2015 2:39
Znajdź wszystkie posty użytkownika Odpowiedz cytując ten post
SP5BMP Offline
Janusz
****

Liczba postów: 606
Dołączył: 02-11-2010
Post: #2
RE: Moje radio ( ADAŚ )
Odsuwa się pilota o 300Hz od częstotliwości dla której następuje spadek sygnału o -3db.
W Twoim przypadku będą to częstotliwości pilotów : 9000,065 kHz i 9003,046 kHz.
Można to wykonać też dla spadku -6 dB. Będzie bez większego znaczenia dla jakości sygnału.
Pozdrawiam, Janusz.
25-11-2015 8:03
Znajdź wszystkie posty użytkownika Odpowiedz cytując ten post
SP2SGA Offline
Adam
***

Liczba postów: 110
Dołączył: 10-02-2014
Post: #3
RE: Moje radio ( ADAŚ )
Dziękuję Januszu za podpowiedź.
Zawsze robiłem to na słuch i było w miarę poprawnie.
Ale teraz jest taka sytuacja, że trzeba te dane wprowadzić
do syntezy dla prawidłowych wskazań i robić to sprawnie.
Czytam sporo ale nie natrafiłem na precyzyjny opis.
Filtr był mierzony już w układzie a wyniki pomiarów są
powtarzalne w czasie pomiaru poza układem i w układzie.
No tu dochodzi jeszcze wzmocnienie na 2x J310.
Z powodzeniem pracują 2 x 246B i 2 x 2SK125 zamiast tego CP643.
I tak będę miał problem bo mam 3 filtry.
2 dla SSB i 1 300HZ dla CW A miejsce dla danych w syntezie mam na 1 filtr.
Prawdopodobnie prawidłowy wpis zrobię dla filtra CW a z resztą
to sobie jakoś poradzę. Może poszperam za syntezą w której
można robić więcej wpisów dla filtrów w sytuacji gdy
ich środki się nie pokrywają.

Dziękuję jeszcze raz za informację

Pozdrawiam
Adam
SP2SGA
25-11-2015 10:28
Znajdź wszystkie posty użytkownika Odpowiedz cytując ten post
SP5CII Offline
Użytkownik
***

Liczba postów: 196
Dołączył: 14-12-2009
Post: #4
RE: Moje radio ( ADAŚ )
Zawsze przyjmowałem F+/- 1.5 kHz w zależności od głosu (operatora) ustawiałem 100hz więcej lub mniej
Wyższe zabarwienie 1.6kHz...niższe 1.4kHz......piloty od PP9 są tak wykonane , telegraficzny na F 9.000 Mhz.
podobnie także filtry MC skrobane w latach 70. przy uruchamianiu zawsze pilota się podkręca w zależności jaki Bozia dała głos operatorowi...zawsze do 400Hz wycinałem pasmo akustyczne (przenosi energię nie przenosi informacji) przy filtrze telegraficznym +/_800Hz taki najlepiej pasowało. Pilot od Cw wykonywałem jako generator kluczowany (wg. Śp. SP5OV) który bezpośrednio sterował mieszacz TX.
Janusz z czego ci wyszły te częstotliwości pisze jako praktyk nijak to mi się widzi.....a trochę przeróżnych filtrów naskrobałem najwięcej w latach 70.
Chyba że z syntezą i przemiany jest inaczej...ten temat mam do tyłu bo nie miałem czasu się tym bawić od stycznia na stypendium państwowym więc zacznę kończyć podobne rozwiązanie trx-a tylko z podwójną przemianą PP9...druga pcz filtry elektromechaniczne 500Khz.
Pośrednia i cały układ doskonale pracuje dałem dwa J310 parowane w warunkach dynamicznych (rzeczywistych) w zabytkowym klonie SP5WW.
Pozdrawiam kolegów jeszcze Świątecznię...Zdrowia...udanych konstrukcji...FB DX
Vy 73!! Andrzej

26-12-2015 22:54
Znajdź wszystkie posty użytkownika Odpowiedz cytując ten post
SP2SGA Offline
Adam
***

Liczba postów: 110
Dołączył: 10-02-2014
Post: #5
RE: Moje radio ( ADAŚ )
Andrzej wszystko pasuje.
Ale zwróć uwagę, że ja nie mam filtra PP9
tylko inny a dla CW mam filtr osobny.
Środki tych filtrów się nie pokrywają.
Chodziło o to by przyjąć jakąś zasadę dla
poprawnych wpisów dla syntezy by odczytywać
właściwą częstotliwość. Sprawa ucha to inna sprawa
ale to też trzeba uwzględnić w syntezie.
Teoria teorią a praktyka praktyką.
Wychodzi to potem na słabej stacji DX
I częstotliwość tez musi się zgadzać.
tam już dokładnie zabarwienia sygnału nie słychać.
Te przyjęte zasady są moim zdaniem prawidłowe.
Można dla komfortu ucha je lekko modyfikować.
Teraz częstotliwości na LSB i USB mi się zgadzają
Dla CW również. Mimo, że filtr dla CW jest w innym miejscu.
Przyjąłem zasadę, że jak mam 3 filtry to mam 3 osobne generatory
po 2 kwarce przełączane napięciem.
Niezgodność częstotliwości występuje w moim przypadku
na wąskim filtrze SSB 1,9 K. mniej na LSB a więcej na USB.
Zastanawiam się tylko nad sterowaniem dla CW
Nośna czy generatorek ?
Ale chyba zostanę przy kluczowaniu nośnej.
Temat nieco odległy bo zmieniam PCB na inny wzór.

Pozdrawiam
Adam
SP2SGA
27-12-2015 1:46
Znajdź wszystkie posty użytkownika Odpowiedz cytując ten post
Odpowiedz 


Skocz do:


Użytkownicy przeglądający ten wątek: 1 gości