Odpowiedz 
 
Ocena wątku:
  • 0 Głosów - 0 Średnio
  • 1
  • 2
  • 3
  • 4
  • 5
Moduł ARW do Bartka
SQ9RZI Offline
Zaawansowany użytkownik
****

Liczba postów: 403
Dołączył: 19-03-2010
Post: #1
Moduł ARW do Bartka
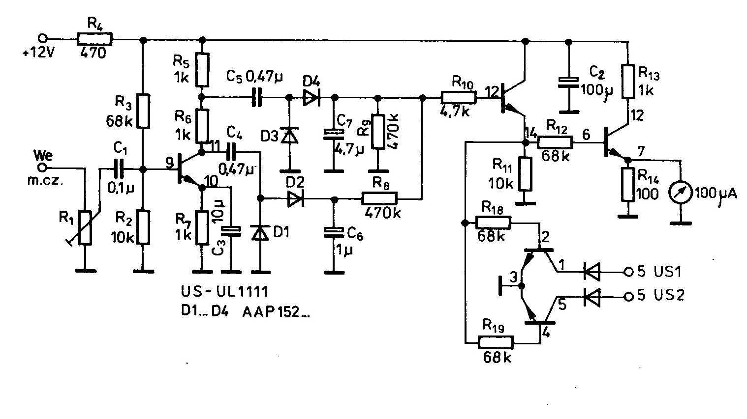
Chciałbym zapytać czy komuś z Was udało się kiedyś uruchomić moduł ARW do Bartka autorstwa SP5AHT, opisywany w "Konstrukcjach krótkofalarskich dla początkujących"? Może wiece o kimś, kto próbował i zakończyło się to sukcesem? Pytam, ponieważ sam nie uzyskałem żadnego efektu, wiem też o przynajmniej jednej osobie, w przypadku której próba się nie powiodła...

Jak zresztą widać na załączonych schematach (ideowym i montażowym) występują pewne niejednoznaczności. Dla przykładu na schemacie ideowym do nóżek 1 i 5 UL1111 podłączone są dwie, nieopisane diody. Na schemacie montażowym pojawiają się tam dwa rezystory - R16 i R17. Żeby było zabawniej, nie ma ich na ideowym...
Ja podczas prób wstawiłem tam 1N4148,testując obydwie polaryzacje.

Jak już wspomniałem - poległem podczas prób podłączenia tego moduliku do mojego Bartka. Nie było dosłownie żadnego efektu, ani automatyka nie działała, ani S-Meter.

Ktoś ma jakiś pomysł?

Ewentualnie mógłbym spróbować zrobić ARW z Bartka, ale tam jeśli się nie mylę działa to trochę inaczej...


Załączone pliki Miniatury
İmage İmage
11-02-2012 18:28
Znajdź wszystkie posty użytkownika Odpowiedz cytując ten post
SP6FRE Offline
Leszek
****

Liczba postów: 737
Dołączył: 20-09-2009
Post: #2
RE: Moduł ARW do Bartka
Układ jest poprawny choć problematyczny jest sens użycia nieopisanych diod w kolektorach (w każdym razie polaryzacja diod na schemacie jest poprawna).
Zacznij na początek od sprawdzenia poprawności montażu. Następnie pomierz napięcia przy odłączonym wejściu. Na końcówkach UL1111 powinny być następujące napięcia: 9-1.7V, 10-1V, 11-10V, 12-12V na pozostałych zero.
Poza tym, w miejscu połączenia D4 oraz C7 napięcie bez sygnału m.cz. powinno mieć wartość 0V. Po podaniu sygnału m.cz. na wejście, w tym miejscu (D4-C7) powinno pojawić się napięcie dodatnie, tym większe im większy sygnał podasz. Gdy napięcie to osiągnie ok. 1.3V powinien poruszyć się miernik S i powinno zacząć działać ARW. Jak prowizorycznie dołączysz kolektory (pin 1 i 5) do 12V przez oporniki 4.7K to w tym momencie powinieneś zaobserwować spadek napięcia na kolektorach z 12V do zera.
Jeśli układ działa tak jak opisuję to błąd leży poza nim. Pokaż jak dołączasz go do trx-a. Użycie oporników zamiast nieopisanych diod ma sens ale trzeba zobaczyć gdzie ta sygnalizacja ma działać.
Zakładam, że pomiary wykonasz miernikiem o oporności co najmniej kilkuset kiloomów (w szczególności chodzi o pomiar w punkcie D4-C7).
Pokazany układ ARW powinien reagować na zmiany krótko i długo okresowe sygnału stąd dwie pary diod detekcyjnych: D1-D2 (reakcja na szybkie zmiany) oraz D3-D4 (reakcja na wolne zmiany). Przy okazji sprawdź czy masz poprawnie wlutowane diody D1-D4 bo to najbardziej czułe miejsce schematu.
L.J.
(Ten post był ostatnio modyfikowany: 13-02-2012 16:52 przez SP6FRE.)
13-02-2012 13:11
Odwiedź stronę użytkownika Znajdź wszystkie posty użytkownika Odpowiedz cytując ten post
SQ9RZI Offline
Zaawansowany użytkownik
****

Liczba postów: 403
Dołączył: 19-03-2010
Post: #3
RE: Moduł ARW do Bartka
(13-02-2012 13:11)SP6FRE napisał(a):  Zacznij na początek od sprawdzenia poprawności montażu.

Sprawdziłem i faktycznie okazało się, że dwie AAP152 były odwrotnie wlutowane. Niestety - poprawienie tego stanu rzeczy nie pomogło. Poza tym zauważyłem pewną drobną pomyłkę w oznaczeniach wyprowadzeń scalaka na schemacie ideowym - przy R11 i R12 powinno być 13 zamiast 14. Jednak płytka jest wykonana prawidłowo, więc to nie ma nic do rzeczy. Ruszyłem więc dalej ze sprawdzaniem.


Cytat:Następnie pomierz napięcia przy odłączonym wejściu. Na końcówkach UL1111 powinny być następujące napięcia: 9-1.7V, 10-1V, 11-10V, 12-12V na pozostałych zero.

No i mamy problem...
1: 3.41V
2: 0V
3: 0V
4: 0V
5: 3.37V
6: 0V
7: 0V
8: 9.23V
9: 2.23V
10: 9.23V
11: 9.23V
12: 0V
13: 0V
14: 9.23V

Spróbowałem wymienić scalak na inny egzemplarz, ale nie pomogło. Dokładnie to samo. Te 9.23V to napięcie zasilania za R4. Całość jest zasilana z zasilacza CB 13.8V.

Cytat:Poza tym, w miejscu połączenia D4 oraz C7 napięcie bez sygnału m.cz. powinno mieć wartość 0V. Po podaniu sygnału m.cz. na wejście, w tym miejscu (D4-C7) powinno pojawić się napięcie dodatnie, tym większe im większy sygnał podasz.

Może to pytanie zabrzmi głupio, ale czym mierzyć napięcie m.cz.?
W każdym razie podpiąłem tam oscyloskop. Nie widać nic - płaska linia bez względu na to czy wejście jest podłączone czy też nie.


Cytat:Jeśli układ działa tak jak opisuję to błąd leży poza nim. Pokaż jak dołączasz go do trx-a.

Podłączony normalnie... Nóżki 1 i 5 UL1111 połączone przez wspomniane (wcześniej diody) kawałkami przewodów z nóżkami US1 i US2.
Wejście połączone kawałkiem ekranowanego przewodu z wyjściem m.cz. US2 w samym transceiverze - kabel wpięty jest w punkt łączący kondensator 100nF z skrajnym wyprowadzeniem potencjometru regulacji głosu.

Tak BTW jaki PR (R1) powinien znajdować się na wejściu tego układu ARW? Dałem 50k. Kolejny nieopisany element....

Cytat:oraz D3-D4 (reakcja na wolne zmiany). Przy okazji sprawdź czy masz poprawnie wlutowane diody D1-D4 bo to najbardziej czułe miejsce schematu.

Faktycznie - był tam błąd. Jednak jego usunięcie nic nie zmieniło. Problem musi tkwić głębiej...
Ok. Był DRAMATYCZNY błąd w projekcie PCB - zwarcie między plusem zasilania za R4 a 10 nóżką scalaka. Tak więc prąd płynął przez R4 i R7. Przeciąłem połączenie i napięcia się poprawiły, ale wskazówka mikroamperomierza wciąż nawet nie drgnie...
BTW pisząc, że napięcie na 12 nóżce UL1111 powinno wynosić 12V jak mniemam miałeś na myśli 8 nóżkę - znów błąd na schemacie, 12 pojawia się dwukrotnie...
(Ten post był ostatnio modyfikowany: 13-02-2012 22:42 przez SQ9RZI.)
13-02-2012 21:46
Znajdź wszystkie posty użytkownika Odpowiedz cytując ten post
SP6FRE Offline
Leszek
****

Liczba postów: 737
Dołączył: 20-09-2009
Post: #4
RE: Moduł ARW do Bartka
Jak widzę znalazłeś kilka błędów więc i objawy mogą być niejednoznaczne.
Proponuję zacząć merytorycznie od wejścia do wyjścia.
Na początek wyjmij układ scalony i zmierz napięcie na połączeniu R3-R2. Ponieważ to dzielnik z opornikami ok. 70k i 10k więc napięcie powinno mieć wartość ok. Uzas*10/(10+70)=Uzas*1/8. Dla napięcia Uzas=13.8V powinno to być 1.7V
Po włożeniu układu scalonego napięcie to nie powinno się istotnie zmienić (może nieco zmaleć). Ponieważ spadek napięcia na złączu B-E wynosi ok. 0.7V to na emiterze (pin 10) napięcie powinno mieć wartość 1.7-0.7=1V. Przy tym napięciu prąd emitera wyniesie 1V/1k=1mA. Oczywiście prąd o podobnej wartości powinien płynąć również przez kolektor Ie=Ic+Ib ( pomniejszony o prąd bazy ale można go pominąć). Co oznacza, że na szeregowym połączeniu oporników R5 i R6 wystąpi napięcie Ur56=Ic*(1k+1k)=ok. 2V. Tak więc napięcie na kolektorze pierwszego tranzystora powinno mieć wartość ok. 13.8V-2V=11.8V.
Z danych jakie pokazałeś wynika, że napięcie kolektora i emitera są równe co oznacza pełne nasycenie tranzystora ale bardzie prawdopodobne jest chyba zwarcie złącza C-E. Jeśli nie uzyskasz więc napięć zbliżonych do wyliczonych wyżej to po prostu wstaw zamiast układu scalonego zwykły tranzystor npn. Dla pewności sytuacji odłącz jeszcze od strony kolektora oba kondensatory C4 i C5.
Napięcie stałe mierzy się woltomierzem dla prądu stałego. Jeśli masz miernik uniwersalny to po prostu ustaw go na symbol "=" i napięcie 20V. Współczesne mierniki mają dużą oporność wewnętrzną więc nie powinno być problemu z interpretacją wyniku.
Czekam na wynik proponowanych działań. Jak doprowadzisz pierwszy stopień do stanu pożądanego podłącz do wejścia sygnał m.cz o wartości kilkudziesięciu mV i sprawdź oscyloskopem jak on wygląda na bazie i na kolektorze tego tranzystora. Różnica w poziomach powinna wynosić od kilkunastu do nawet kilkudziesięciu razy. Jak się z tym uporasz ruszymy dalej.
L.J.

Ps. Dopiero teraz zauważyłem, że pytałeś o napięcie m.cz a nie napięcie stałe. Oczywiście w punkcie D4-C7 pojawi się, przy stałym poziomie napięcia zmiennego na wejściu, napięcie stałe. Podczas normalnej pracy napięcie to (stałe) będzie się zmieniać w takt zmian (amplituda) napięcia zmiennego na wejściu. Napięcie to możesz mierzyć oscyloskopem lub miernikiem uniwersalnym, niezastąpiony jest tu klasyczny miernik wskazówkowy o dużej oporności wewnętrznej ale o taki ostatnio trudno. Pewnym wyjściem są mierniki cyfrowe z dodatkowym paskiem poziomu reagującym na szybkie zmiany napięcia mierzonego. Z pomiarem napięcia zmiennego m.cz. powinien poradzić sobie miernik uniwersalny ustawiony w trybie pomiaru napięcia zmiennego czyli "~".
(Ten post był ostatnio modyfikowany: 14-02-2012 12:29 przez SP6FRE.)
14-02-2012 12:28
Odwiedź stronę użytkownika Znajdź wszystkie posty użytkownika Odpowiedz cytując ten post
SQ9RZI Offline
Zaawansowany użytkownik
****

Liczba postów: 403
Dołączył: 19-03-2010
Post: #5
RE: Moduł ARW do Bartka
(14-02-2012 12:28)SP6FRE napisał(a):  Na początek wyjmij układ scalony i zmierz napięcie na połączeniu R3-R2. Ponieważ to dzielnik z opornikami ok. 70k i 10k więc napięcie powinno mieć wartość ok. Uzas*10/(10+70)=Uzas*1/8. Dla napięcia Uzas=13.8V powinno to być 1.7V
Po włożeniu układu scalonego napięcie to nie powinno się istotnie zmienić (może nieco zmaleć).

Istotnie tak jest. Napięcie bez scalaka wynosi 1.73V. Po włożeniu układu spada do 1.58V.


Cytat:Ponieważ spadek napięcia na złączu B-E wynosi ok. 0.7V to na emiterze (pin 10) napięcie powinno mieć wartość 1.7-0.7=1V.

0.85V. Zgadza się wziąwszy pod uwagę to 1.58V na bazie.

Cytat:Co oznacza, że na szeregowym połączeniu oporników R5 i R6 wystąpi napięcie Ur56=Ic*(1k+1k)=ok. 2V.

1.74V - chyba mieści się w granicy błędu...


Cytat:Tak więc napięcie na kolektorze pierwszego tranzystora powinno mieć wartość ok. 13.8V-2V=11.8V.
Z danych jakie pokazałeś wynika, że napięcie kolektora i emitera są równe co oznacza pełne nasycenie tranzystora ale bardzie prawdopodobne jest chyba zwarcie złącza C-E.

Chyba coś musiałem pomieszać, bo teraz mierzę i na 10 nóżce UL1111 (emniter) mam 0.85V. Natomiast na 11 (kolektor) 11.46V.

Cytat:Czekam na wynik proponowanych działań. Jak doprowadzisz pierwszy stopień do stanu pożądanego podłącz do wejścia sygnał m.cz o wartości kilkudziesięciu mV i sprawdź oscyloskopem jak on wygląda na bazie i na kolektorze tego tranzystora. Różnica w poziomach powinna wynosić od kilkunastu do nawet kilkudziesięciu razy. Jak się z tym uporasz ruszymy dalej.

Z braku lepszego generatora sygnału m.cz. wykorzystałem starą, dobrą wkładkę W66 i gwizdając w nią obserwowałem przebiegi na oscyloskopie. Jest wzmocnienie, kondensatory przepuszczają sygnał dalej. Oczywiście amplituda za C5 jest kilka razy mniejsza niż za C4.

Tak więc źródło problemu leży w innym miejscu...
(Ten post był ostatnio modyfikowany: 14-02-2012 22:31 przez SQ9RZI.)
14-02-2012 22:17
Znajdź wszystkie posty użytkownika Odpowiedz cytując ten post
SP6FRE Offline
Leszek
****

Liczba postów: 737
Dołączył: 20-09-2009
Post: #6
RE: Moduł ARW do Bartka
Napisz jakie masz wzmocnienie, pierwszy stopień to prosty wzmacniacz m.cz. Jeśli zależy Ci na optymalizacji tego stopnia zmniejsz opornik R3 68k (uży potencjomerta nastawnego 100k) obserwując jak zmienia się wzmocnienie. Maksimum powinno wystąpić gdzieś dla napięcia C-E 3-6V.
Ten stopień ma punkt pracy dobrany poza środkiem zakresu pracy i można go poprawić co na pewno wpłynie na skuteczność ARW.
Kolejnym krokiem powinno być sprawdzenia jakie napięcie występuje na styku R9-R10 oraz na pinie 12 (powinny być w przybliżeniu równe) . Tranzystor na pinach 12-14 to wtórnik a na jego emiterze napięcie powinno mieć wartość jaką ma napięcie na bazie pomniejszone o 0.7V. Warunkiem działania ARW jest aby po detektorach (baza - pin 12) napięcie było większe niż 1.4V. Napięcie po detektorach większe niż 0.7V zacznie sterować tranzystor 12-14 ale dopiero kiedy na emiterze tego tranzystora napięcie przekroczy 0.7V (a zatem kiedy na bazie będzie co najmniej 1.4V) zacznie działać s-metr oraz uruchomione będą klucze na pinach 1 i 5. Z tego punktu widzenia warto poprawić wzmocnienie pierwszego stopnia o czym wcześniej pisałem.
Jak widać sygnał sterujący układ ARW musi mieć co najmniej taki poziom aby po wzmocnieniu na pierwszym tranzystorze oraz detekcji napięcie na bazie pin12 miało wartość co najmniej 1.4V. Jeśli sygnał sterujący z odbiornika jest za mały trzeba znaleźć miejsce gdzie może być większy aby wysterować ARW. Pokaż na schemacie Bartka skąd pobierasz napięcie do sterowania ARW albo po prostu sprawdź czy ten sygnał jest w stanie wysterować bazę 12 napięciem większym niż 1.4V. Napięcie na bazie 12 lub R9-R10 możesz mierzyć oscyloskopem lub miernikiem napięcia stałego.
L.J.
(Ten post był ostatnio modyfikowany: 14-02-2012 22:45 przez SP6FRE.)
14-02-2012 22:43
Odwiedź stronę użytkownika Znajdź wszystkie posty użytkownika Odpowiedz cytując ten post
SQ9RZI Offline
Zaawansowany użytkownik
****

Liczba postów: 403
Dołączył: 19-03-2010
Post: #7
RE: Moduł ARW do Bartka
(14-02-2012 22:43)SP6FRE napisał(a):  Napisz jakie masz wzmocnienie, pierwszy stopień to prosty wzmacniacz m.cz. Jeśli zależy Ci na optymalizacji tego stopnia zmniejsz opornik R3 68k (uży potencjomerta nastawnego 100k) obserwując jak zmienia się wzmocnienie. Maksimum powinno wystąpić gdzieś dla napięcia C-E 3-6V.

Nie widzę wielkiej różnicy. Trudno to stwierdzić bez stabilnego generatora sygnału m.cz., jedynie gwiżdżąc do W66. Smile Niemniej subiektywnie wydaje mi się, że maksimum jest mniej-więcej za połową PR 100k, więc ten rezystor 68k wydaje się być ok.


Cytat:Kolejnym krokiem powinno być sprawdzenia jakie napięcie występuje na styku R9-R10 oraz na pinie 12 (powinny być w przybliżeniu równe) .

Wydaje mi się, że są. W przybliżeniu...


Cytat:Tranzystor na pinach 12-14 to wtórnik a na jego emiterze napięcie powinno mieć wartość jaką ma napięcie na bazie pomniejszone o 0.7V. Warunkiem działania ARW jest aby po detektorach (baza - pin 12) napięcie było większe niż 1.4V.

Ok. Gwiżdżąc do W66 ledwie z trudem uzyskuję te 1.4V.
Podłączyłem na chwilę wejście ARW do wyjścia wzmacniacza głośnikowego Bartka. Przy odbiorze jakiejś stacji uzyskuję około 1.7V-1.8V. Wskazówka mikroamperomierza jednak ledwie się wychyla w takt głosu nadawcy. Wskaźnik jest oznaczony jako 100uA, jest więc w porządku, zgodny z opisem.
Przy takim ustawieniu (wejście połączone z wyjściem głośnikowym) nóżki 5 US1 i US2 nie są podłączone - gdy to zrobiłem, pojawiało się wzbudzenie ("tykanie").

Cytat:Jeśli sygnał sterujący z odbiornika jest za mały trzeba znaleźć miejsce gdzie może być większy aby wysterować ARW. Pokaż na schemacie Bartka skąd pobierasz napięcie do sterowania ARW

Miejsce zaznaczone czerwoną kropką.
Niemniej nie wiem czy to ma jakieś znaczenie - w końcu nawet po podłączeniu do wyjścia głośnikowego wskazówka ledwie drży... Co dopiero mówić o normalnym działaniu.


Załączone pliki Miniatury
İmage
15-02-2012 0:29
Znajdź wszystkie posty użytkownika Odpowiedz cytując ten post
SP6FRE Offline
Leszek
****

Liczba postów: 737
Dołączył: 20-09-2009
Post: #8
RE: Moduł ARW do Bartka
A więc wszystko z grubsza działa jak powinno :-(
1. Napisz jakie wzmocnienie ma pierwszy stopień (przez porównanie napięć na bazie i kolektorze pierwszego tranzystora). Użyj do pomiaru oscyloskopu
2. Czy napięcie na wejściu (potencjometr) jest takie samo jak na bazie pierwszego tranzystora - może masz skręcony ten potencjometr? Użyj do pomiaru oscyloskopu
3. Jeśli wzmocnienie jest małe to może winny jest kondensator w emiterze pierwszego tranzystora? Sprawdź biegunowość, dokonaj wymiany na inny egzemplarz.
4. Wzmocnienie pomierz po odłączeniu kondensatorów C4 i C5 a następnie po ich dołączeniu. Różnica nie powinna być istotna a jeśli jest to trzeba szukać w układzie detektorów.
5. Ponownie sprawdź diody, może jakaś ma zwarcie lub rozwarcie, napięcie na R9-R10 powinno być dodatnie o wartości co najmniej równej amplitudzie napięcia zmiennego na kolektorze pierwszego tranzystora. Sprawdź to miejsce oscyloskopem. Jeśli zobaczysz, że napięcie w tym miejscu ma charakter zmienny (przyjmuje również wartości ujemne) to polaryzacja diod jest wadliwa lub diody są uszkodzone.
6. Czy C4 i C5 mają 0.47u i właściwą polaryzację? Mozna je zwiększyc do 1uF
7. Czy C6 i C7 mają właściwą pojemność i polaryzację?
8. Jaki przeciętny poziom napięcia zmiennego masz w Bartku w miejscu pobierania sygnału ARW?. Pomiaru dokonaj oscyloskopem
9. Odłacz R10 od bazy i zobacz czy napięcie R9-R10 znacznie wzrośnie co by świadczyło o uszkodzeniu tranzystora 12-14
10. Czy masz dołączony kondensator C2 100uF?
L.J.
(Ten post był ostatnio modyfikowany: 15-02-2012 1:06 przez SP6FRE.)
15-02-2012 0:59
Odwiedź stronę użytkownika Znajdź wszystkie posty użytkownika Odpowiedz cytując ten post
SQ9RZI Offline
Zaawansowany użytkownik
****

Liczba postów: 403
Dołączył: 19-03-2010
Post: #9
RE: Moduł ARW do Bartka
(15-02-2012 0:59)SP6FRE napisał(a):  1. Napisz jakie wzmocnienie ma pierwszy stopień (przez porównanie napięć na bazie i kolektorze pierwszego tranzystora). Użyj do pomiaru oscyloskopu

Wejście ARW przełączyłem znów jak było (czerwona kropka na schemacie).
Wzmocnienie mogę ocenić jedynie "na oko", jako że nie dysponuję źródłem stabilnego sygnału m.cz. widzę jedynie przebiegi odpowiadające głosowi operatora odbieranej stacji. Powiedziałbym, że ten stopień wzmacnia sygnał jakieś piętnaście-dwadzieścia razy.


Cytat:2. Czy napięcie na wejściu (potencjometr) jest takie samo jak na bazie pierwszego tranzystora - może masz skręcony ten potencjometr?

To oczywiście sprawdziłem na samym początku. Suwak potencjometru jest na źródle sygnału m.cz.

Cytat:3. Jeśli wzmocnienie jest małe to może winny jest kondensator w emiterze pierwszego tranzystora? Sprawdź biegunowość, dokonaj wymiany na inny egzemplarz.

Sprawdziłem, wymieniłem. Nic się nie zmieniło.

Cytat:4. Wzmocnienie pomierz po odłączeniu kondensatorów C4 i C5 a następnie po ich dołączeniu. Różnica nie powinna być istotna a jeśli jest to trzeba szukać w układzie detektorów.

Nie widzę istotnej różnicy. Amplituda sygnału na 11 nóżce UL1111 jest zbliżona.

Cytat:5. Ponownie sprawdź diody, może jakaś ma zwarcie lub rozwarcie, napięcie na R9-R10 powinno być dodatnie o wartości co najmniej równej amplitudzie napięcia zmiennego na kolektorze pierwszego tranzystora. Sprawdź to miejsce oscyloskopem. Jeśli zobaczysz, że napięcie w tym miejscu ma charakter zmienny (przyjmuje również wartości ujemne) to polaryzacja diod jest wadliwa lub diody są uszkodzone.

Diody wylutowałem i sprawdziłem multimetrem. Przewodzą tylko w jednym kierunku. Wlutowałem je ponownie, jeszcze raz upewniając się co do polaryzacji. Wszystko jest, jak było.

idąc jednak za twoją radą sprawdziłem wahania napięcia na w punkcie połączenia R9 i R10. Nie dostrzegam co prawda wartości ujemnych, ale emplituda jest znacznie mniejsza niż to miało miejsce na kolektorze pierwszego tranzystora. Plamka ledwie podskakuje w rytm odbieranego głosu. W przypadku w.cz. były zauważalnie większe wahania.

Co teraz? Wymienić C6 i C7?

Cytat:6. Czy C4 i C5 mają 0.47u i właściwą polaryzację? Mozna je zwiększyc do 1uF

Polaryzację? Przecież to MKT. Smile
Tak - mają 470nF. Zwiększenie do 1uF może tutaj istotnie pomóc, czy to tylko taka luźna sugestia?


Cytat:7. Czy C6 i C7 mają właściwą pojemność i polaryzację?

Polaryzację - tak. Pojemności też, przynajmniej te napisane na obudowach. Zwykle staram się mierzyć każdy element przed wlutowaniem... Niemniej także spróbuję je wymienić - możliwości powoli się kończą...


Cytat:8. Jaki przeciętny poziom napięcia zmiennego masz w Bartku w miejscu pobierania sygnału ARW?. Pomiaru dokonaj oscyloskopem

Może to głupie pytanie, ale w jaki sposób dokładnie mierzyć tę wartość oscyloskopem? Mam go od niedawna - używam raczej do kontrolowania kształtu przebiegów i co najwyżej względnego oceniania amplitudy (szukanie maksymalnej wartości sygnału, porównywanie dwóch różnych wartości itp.)...

Cytat:9. Odłacz R10 od bazy i zobacz czy napięcie R9-R10 znacznie wzrośnie co by świadczyło o uszkodzeniu tranzystora 12-14

Nie widać zauważalnej różnicy. Zresztą jak pisałem - sprawdziłem już kilka sztuk UL1111.

Cytat:10. Czy masz dołączony kondensator C2 100uF?

Tak
Wymieniłem C6 i C7. Tak jak się spodziewałem - nie dało to żadnego wyniku.

Tak swoją drogą jakie powinno być normalnie napięcie stałe w miejscu połączenia R9 i R10? Zwykle mam pomiędzy 0,5V-1V podczas odbioru jakiejś stacji. Czasem w peeku skoczy do tych 1,4V-1,6V i wówczas wskazówka mikroamperomierza podryguje w okolicach początku skali. Gdzie tam jej jednak do choćby częściowego wychylenia...

Napięcie m.cz. w miejscu z którego biorę sygnał na wejście ARW? Nie wiem, jeszcze nie mierzyłem. Jedno jest pewne - w zupełności wystarczy do wysterowania UL1497. Nie muszę wcale ustawiać potencjometru regulacji głośności w skrajne położenie, żeby mieć głośny odbiór (oczywiście jeśli stacja jest dobrze odbierana po stronie radiowej - mam w tej chwili mocno improwizowaną antenę, więc odbiór słabych sygnałów stacji odleglejszych i/lub pracujących z mniejszą mocą jest odpowiednio słabszy. To jednak nie ma znaczenia - wszystkie opisywanie próby przeprowadzałem na tych silnych, głośno i wyraźnie słyszalnych w głośniku.

Może ten układ faktycznie ma jakiś błąd konstrukcyjny?
Normalnym podłączeniu wejścia ARW do transceivera (ponownie: czerwona kropka na schemacie) oraz podłączeniu układu do nóżek 5 US1 i US2 również pojawia się ten dziwny objaw z "tykaniem". Wszystko jest w porządku gdy odbieram szum, jednak gdy przestrajam i trafię na jakąś silniejszą sytację całość się wzbudza i nie słyszę nic poza rytmicznym "tykaniem" z głośnika.
I jeszcze jedno: czy PR 50k na wejściu ARW jest odpowiedni? Wartość nie jest opisana na schemacie, wstawiłem właśnie taki.
(Ten post był ostatnio modyfikowany: 15-02-2012 21:36 przez SQ9RZI.)
15-02-2012 20:31
Znajdź wszystkie posty użytkownika Odpowiedz cytując ten post
SP6FRE Offline
Leszek
****

Liczba postów: 737
Dołączył: 20-09-2009
Post: #10
RE: Moduł ARW do Bartka
Wydaje się, że przyczyną takiego zachowania ARW jest zbyt mały poziom napięcia na jego wejściu. Układ UL1498 ma chyba około 30dB (30 razy) wzmocnienia napięciowego więc na jego wejściu może być kilkadziesiąt mV napięcia zmiennego (możesz właśnie to napięcie ocenić na oscyloskopie sprawdzając średnie napięcie międzyszczytowe w miejscu oznaczonym kropką a następnie mnożąc przez 0.35 - ten wynik da przybliżoną wartość mierzonego napięcia skutecznego)
Wydaje się więc, że ten układ nie będzie działał prawidłowo z Bartkiem chyba, że wyposażysz go w dodatkowy stopień wzmocnienia. Może to być stopień podobny do tego jaki masz już na wejściu. Możesz go zmontować na próbę wpinając pomiędzy suwak wejściowego potencjometru a bazę pierwszego tranzystora oddzielając z obu stron kondensatorami 1uF.
Zastanawia nieco fakt wzbudzania się odbiornika po dołączeniu wyjść ARW. Być może należy zwiększyć na probę pojemność C7 do 47uF choć wydaje się, że stała czasowa jaka dobrana jest na schemacie jest odpowiednia (pojedyncze sekundy). Czy możesz pokazać gdzie dołączasz klucze tranzystorów w odbiorniku?.
Potencjometr 50k jakiego użyłeś to dobry wybór.
L.J.
(Ten post był ostatnio modyfikowany: 16-02-2012 0:00 przez SP6FRE.)
15-02-2012 23:59
Odwiedź stronę użytkownika Znajdź wszystkie posty użytkownika Odpowiedz cytując ten post
Odpowiedz 


Skocz do:


Użytkownicy przeglądający ten wątek: 3 gości