Odpowiedz 
 
Ocena wątku:
  • 1 Głosów - 5 Średnio
  • 1
  • 2
  • 3
  • 4
  • 5
Bartek
SQ9RZI Offline
Zaawansowany użytkownik
****

Liczba postów: 403
Dołączył: 19-03-2010
Post: #61
RE: Bartek
Kupiłem dzisiaj trochę ponad 20 metrów miedzianej linki 1,5mm w izolacji. Wyrzuciłem ją za okno i rozwiesiłem mniej więcej w kształcie litery "L" - wzdłuż dwóch ścian domu, balkonem, do znajdującego się obok budynku. Faktycznie odbiór jest znacznie, znacznie lepszy. CW to już wyraźne piski, a nie jedynie sygnały wyłaniające się z szumu. SSB także o wiele głośniej, wyraźniej - wreszcie mogę rozróżnić język i rozpoznać słowa. Teraz tylko dokładniejsze strojenie (dzielniki na wyjściach oscylatorów, BFO). Trzeba się dokładnie wstrajać, bo VFO reaguje nawet na delikatne ruchy ośki kondensatora.
Dziękuję za dotychczas otrzymane porady i będę bardzo wdzięczne za wszystkie kolejne, przydatne na tym etapie uruchamiania Bartka.

BTW właśnie odbieram "The Pip" na 3757 kHz. Smile

BTW2: Brak ekranu na filtrze drabinkowym oraz obudowa rezonatora BFO niepołączona z masą układu mogą mieć wpływ na jego zachowanie, m.in. ilość "ptaszków" w paśmie?
Wczorajsze nasłuchy muszę uznać za całkiem udane. Bardzo dobra słyszalność stacji włoskich i rosyjskich, pod koniec jedna z Czech robiąca łączności DX po angielsku, w międzyczasie słyszałem kilku polskich krótkofalowców. Wyniki zachęcające. Wink

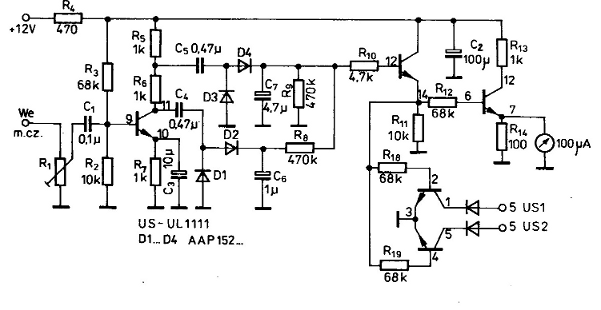
UPDATE: Mam jeszcze pytanie odnośnie układu ARW. Oryginalny schemat jest trochę niejednoznaczny. Nie podano między innymi wartości potencjometru R1, ani typów diod łączących układ z pinami 5 UL1242. Żeby było ciekawiej na schemacie montażowym zamiast tych diod występują rezystory R16 i R17 (bez podanej wartości). Tych rezystorów w ogóle nie ma na schemacie.


Załączone pliki Miniatury
İmage
(Ten post był ostatnio modyfikowany: 18-12-2010 17:01 przez SQ9RZI.)
17-12-2010 21:22
Znajdź wszystkie posty użytkownika Odpowiedz cytując ten post
Odpowiedz 


Wiadomości w tym wątku
Bartek - SQ6KBT - 20-04-2010, 17:04
RE: Bartek - SP2QCA - 21-04-2010, 9:36
RE: Bartek - SQ6KBT - 21-04-2010, 16:32
RE: Bartek - SP4-17-014 - 21-04-2010, 16:56
RE: Bartek - SQ6KBT - 21-04-2010, 21:43
RE: Bartek - SP4-17-014 - 22-04-2010, 9:26
RE: Bartek - SQ6KBT - 22-04-2010, 15:09
RE: Bartek - SP4-17-014 - 22-04-2010, 20:56
RE: Bartek - SQ9RZI - 22-04-2010, 20:21
RE: Bartek - SQ6KBT - 22-04-2010, 21:47
RE: Bartek - SP4-17-014 - 23-04-2010, 8:14
RE: Bartek - SQ4AVS - 23-04-2010, 9:32
RE: Bartek - SQ9RZI - 09-10-2010, 22:48
RE: Bartek - SQ9RZI - 21-10-2010, 11:22
RE: Bartek - SP2QCA - 21-10-2010, 12:43
RE: Bartek - SQ9RZI - 21-10-2010, 22:25
RE: Bartek - SP2QCA - 22-10-2010, 8:17
RE: Bartek - SP2JQR - 22-10-2010, 10:27
RE: Bartek - SP9ODG - 22-10-2010, 23:02
RE: Bartek - SQ9RZI - 24-10-2010, 0:00
RE: Bartek - SQ6OXK - 24-10-2010, 12:11
RE: Bartek - SQ9RZI - 24-10-2010, 20:04
RE: Bartek - SP9ODG - 24-10-2010, 12:52
RE: Bartek - SP2QCA - 24-10-2010, 20:16
RE: Bartek - SQ9RZI - 25-10-2010, 18:29
RE: Bartek - SQ6OXK - 25-10-2010, 22:17
RE: Bartek - SP2QCA - 26-10-2010, 0:57
RE: Bartek - SQ9RZI - 17-11-2010, 16:58
RE: Bartek - SP2JQR - 17-11-2010, 17:28
RE: Bartek - SP2JQR - 18-11-2010, 11:01
RE: Bartek - SP2JQR - 19-11-2010, 1:49
RE: Bartek - SP9RTN - 19-11-2010, 16:03
RE: Bartek - SQ9RZI - 19-11-2010, 20:53
RE: Bartek - SP9RTN - 19-11-2010, 21:36
RE: Bartek - SQ9RZI - 20-11-2010, 9:16
RE: Bartek - SP2JQR - 19-11-2010, 23:16
RE: Bartek - SQ9RZI - 21-11-2010, 11:06
RE: Bartek - SQ9RZI - 21-11-2010, 14:29
RE: Bartek - SP9RTN - 21-11-2010, 21:57
RE: Bartek - SP9RTN - 21-11-2010, 22:40
RE: Bartek - SQ9RZI - 22-11-2010, 9:29
RE: Bartek - SP2QCA - 22-11-2010, 10:28
RE: Bartek - SQ9RZI - 22-11-2010, 11:12
RE: Bartek - SQ9RZI - 26-11-2010, 15:40
RE: Bartek - SQ9RZI - 28-11-2010, 14:07
RE: Bartek - SQ9RZI - 29-11-2010, 11:40
RE: Bartek - SQ9RZI - 10-12-2010, 18:21
RE: Bartek - SQ9RZI - 13-12-2010, 9:47
RE: Bartek - SP4IRX - 13-12-2010, 10:28
RE: Bartek - SP2QCA - 13-12-2010, 12:00
RE: Bartek - SQ9RZI - 13-12-2010, 14:02
RE: Bartek - SP9MRN - 13-12-2010, 14:08
RE: Bartek - SQ4AVS - 13-12-2010, 14:36
RE: Bartek - SQ9RZI - 13-12-2010, 14:49
RE: Bartek - SQ9RZI - 15-12-2010, 18:55
RE: Bartek - SP2QCA - 15-12-2010, 23:50
RE: Bartek - SQ9RZI - 16-12-2010, 15:27
RE: Bartek - SQ9RZI - 17-12-2010 21:22
RE: Bartek - SP9MRN - 21-12-2010, 2:10
RE: Bartek - SQ9RZI - 20-12-2010, 21:52
RE: Bartek - SP9MRN - 21-12-2010, 0:51
RE: Bartek - SP2JQR - 22-12-2010, 0:14
RE: Bartek - SQ9RZI - 22-12-2010, 6:42
RE: Bartek - SQ9RZI - 10-01-2011, 16:14
RE: Bartek - SQ9RZI - 02-12-2011, 10:56
RE: Bartek - SQ8Z - 02-12-2011, 15:42
RE: Bartek - SQ9RZI - 02-12-2011, 20:44
RE: Bartek - SP4EJT - 03-12-2011, 16:02
RE: Bartek - SQ9RZI - 04-12-2011, 18:50
RE: Bartek - SP4EJT - 04-12-2011, 22:19
RE: Bartek - SQ9RZI - 07-12-2011, 1:47
RE: Bartek - SP4EJT - 07-12-2011, 22:53
RE: Bartek - SQ9RZI - 07-12-2011, 23:48
RE: Bartek - SP4EJT - 08-12-2011, 16:14
RE: Bartek - SQ9RZI - 08-12-2011, 22:01
RE: Bartek - SP4EJT - 08-12-2011, 23:27
RE: Bartek - SP9MRN - 09-12-2011, 1:13
RE: Bartek - SP2QCA - 09-12-2011, 12:17
RE: Bartek - SP5TAA - 09-12-2011, 14:38
RE: Bartek - SP9RTN - 09-12-2011, 19:00
RE: Bartek - SQ9RZI - 09-12-2011, 19:32
RE: Bartek - SQ2EER - 09-12-2011, 19:33
RE: Bartek - SQ9RZI - 09-12-2011, 22:02
RE: Bartek - SQ2EER - 09-12-2011, 23:47
RE: Bartek - SQ8Z - 10-12-2011, 0:09
RE: Bartek - SQ2EER - 10-12-2011, 0:24
RE: Bartek - SQ8Z - 10-12-2011, 0:40
RE: Bartek - SQ2EER - 10-12-2011, 0:50
RE: Bartek - SQ8Z - 10-12-2011, 2:12
RE: Bartek - SQ9RZI - 10-12-2011, 9:48
RE: Bartek - SP9RTN - 10-12-2011, 12:01
RE: Bartek - SQ2EER - 10-12-2011, 11:32
RE: Bartek - SQ9RZI - 10-12-2011, 15:11
RE: Bartek - SP2JQR - 10-12-2011, 17:48
RE: Bartek - SQ9RZI - 10-12-2011, 21:20
RE: Bartek - SP9RTN - 13-12-2011, 15:03
RE: Bartek - SQ9RZI - 13-12-2011, 20:06
RE: Bartek - SQ9RZI - 15-12-2011, 22:14
RE: Bartek - SP9RTN - 16-12-2011, 9:05
RE: Bartek - SQ9RZI - 16-12-2011, 10:25
RE: Bartek - SP9RTN - 16-12-2011, 10:43
RE: Bartek - SQ9RZI - 25-12-2011, 15:59
RE: Bartek - SP2JQR - 27-12-2011, 13:10
RE: Bartek - SQ9RZI - 27-12-2011, 13:39
RE: Bartek - SP9RTN - 30-12-2011, 9:20
RE: Bartek - SQ9RZI - 12-02-2012, 12:57
RE: Bartek - SP9RTN - 13-02-2012, 11:49
RE: Bartek - SQ9RZI - 13-02-2012, 12:55
RE: Bartek - SQ9RZI - 15-05-2012, 14:45
RE: Bartek - SQ9RZI - 08-06-2012, 9:49
RE: Bartek - SP4HKQ - 08-06-2012, 14:27
RE: Bartek - SQ9RZI - 08-06-2012, 17:02
RE: Bartek - SP4HKQ - 08-06-2012, 19:06
RE: Bartek - SQ9RZI - 08-06-2012, 21:22
RE: Bartek - SP2JQR - 08-06-2012, 20:17
RE: Bartek - SP4HKQ - 09-06-2012, 7:15
RE: Bartek - SQ9RZI - 09-06-2012, 8:36
RE: Bartek - SP2JQR - 09-06-2012, 8:14
RE: Bartek - SP4HKQ - 09-06-2012, 8:47
RE: Bartek - SP2JQR - 09-06-2012, 10:30
RE: Bartek - SQ9RZI - 09-06-2012, 17:45
RE: Bartek - SP4HKQ - 09-06-2012, 18:53
RE: Bartek - SQ9RZI - 13-06-2012, 22:15
RE: Bartek - SQ9RZI - 19-06-2012, 22:34
RE: Bartek - SP4EJT - 20-06-2012, 12:52
RE: Bartek - SQ9RZI - 20-06-2012, 15:08
RE: Bartek - HF8V - 08-06-2013, 22:42
RE: Bartek - SQ9RZI - 10-06-2013, 14:12
RE: Bartek - SP6IFN - 10-06-2013, 23:06

Skocz do:


Użytkownicy przeglądający ten wątek: 2 gości