Odpowiedz 
 
Ocena wątku:
  • 0 Głosów - 0 Średnio
  • 1
  • 2
  • 3
  • 4
  • 5
Najprostszy RX jednowstęgowy Polyakova.
SQ9RFC Offline
Jerzy
*****

Liczba postów: 1,193
Dołączył: 02-07-2010
Post: #1
Najprostszy RX jednowstęgowy Polyakova.
Chciałbym kolegów zaprosić do budowy bardzo prostego odbiornika jednowstęgowego konstrukcji Polyakova. Dokumentację można znaleźć praktycznie we wszystkich jego książkach. Pozwoliłem sobie przetłumaczyć fragment o tym odbiorniku. Pomimo prostoty, wcale nie jest łatwo uzyskać 40 dB tłumienia bocznej wstęgi - ale się da!? Spędziłem nad nim już wiele godzin. Chyba Rosjanie maja jakieś przysłowie radiowe ... coś o rafach na otwartym morzu ... - nie pamiętam dokładnie - ten odbiorniczek pełen jest takich raf :-)


Średniofalowe amatorskie pasmo radiowe 160 m charakteryzuje się dużym poziomem zakłóceń i sporą ilością stacji. Dlatego proste dwuwstęgowe odbiorniki z bezpośrednią przemianą nie działają dobrze ze względu na obecność dwóch wstęg bocznych w odbieranym sygnale. Jednocześnie duży margines czułości odbiornika pozwala na zastosowanie prostego przesuwnika fazy w mikserze jednostęgowym wnoszącym duże straty. Oczywiście jest to rozwiązanie kompromisowe, ponieważ straty w przesuwniku fazy zawężają zakres dynamiczny odbiornika.
Opisany odbiornik jest zaprojektowany specjalnie dla pasma 160 m i ma czułość 5 µV przy stosunku sygnał/szum 10 dB, selektywność nie jest gorsza niż 35 dB przy odstrojeniu 10 kHz. Tłumienie górnej wstęgi bocznej nie jest gorszej niż 24dB. Pasmo przenoszenia odbiornika wynosi około 2100 Hz, co pozwala na jednowstęgowy odbiór CW i SSB. Stacje AM są dobrze odbierane przy ustawieniu na zero uderzeń, jeśli sygnał AM jest dobrej jakości.

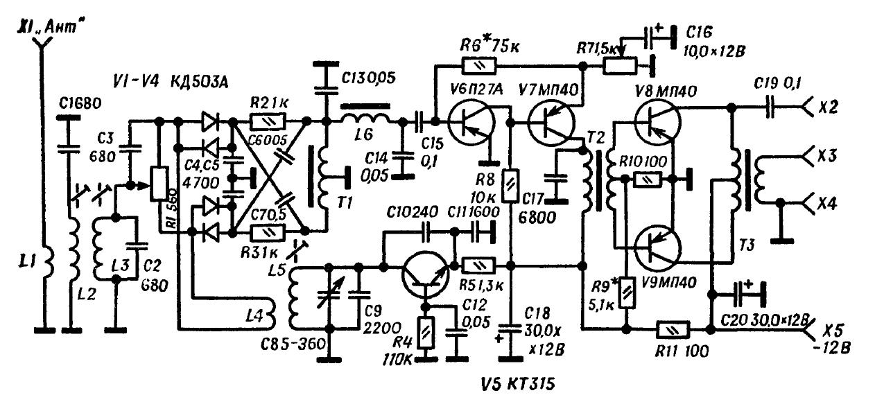
Schemat odbiornika pokazano na rys.

İmage


Do stłumienia sygnałów stacji nadawczych dużej mocy na wejściu odbiornika zainstalowano dwuobwodowy filtry pasmowy L2C1, L3C2. Jego wyjście jest podłączone do środka fazora RF utworzonego przez rezystor P1 i kondensator C3. Napięcie heterodyny dostarczane jest z cewki L4, w górnym (na schemacie) kanale przesuwa się fazowo o 45 ° w stosunku do napięcia w dolnym kanale. Napięcie sygnału w obu kanałach dociera w fazie. Mieszacze są zbudowane z diod połaczonych równolegle przeciwsobnie. Heterodyna odbiornika jest wykonana na tranzystorze U5, w standardowym układzie z pojemnościowym sprzężeniem zwrotnym, jest przestrajana kondensatorem C8 w zakresie 925-975 kHz, tzn. działa z połową częstotliwości sygnału. Sygnały z mikserów są podawane do przesuwników fazowych niskiej częstotliwości utworzonych z łańcuchów R2C6 i R3C7. Prądy wysokiej częstotliwości są blokowane przez kondensatory C4 i C5. Transformator symetryczny T1 służy tylko do uzyskania przeciwfazowych sygnałów LF w odgałęzieniach przesuwnika fazowego. Dane tego transformatora są całkowicie bezkrytyczne. Sygnał niskiej częstotliwości jest podawany przez filtr dolnoprzepustowy ( L6, C13, C14) na wzmacniacz m.cz. Pierwsze dwa stopnie wzmacniacza są zrobione w układzie z bezpośrednim sprzężeniem. Dają wystarczająco dużo mocy do zasilenia słuchawek wysokoomowych. Takie słuchawki mogą być włączone w obwód kolektora tranzystor U7.
Dodatkowe wzmocnienie mocy wyjściowej daje układ przeciwsobny na tranzystorach Y8 i Y9. Słuchawki wysokoomowe można podłączyć do gniazd X2 i X4, a głośnik niskoomowy do gniazd XZ i X4.

Odbiornik zasilany jest przez stabilizowany prostownik z wyjściem 9-12 V lub baterie. Pobór prądu nie przekracza 10 mA, rośnie wraz ze wzrostem głośności. Odbiornik może używać bardzo szerokiej gamy części. W mieszalniku mają zastosowanie silikonowe diody wysokiej częstotliwości. Tranzystor heterodyny - dowolny małej mocy typu z częstotliwością graniczną nie mniejszą niż 10 MHz. Wszystkie pozostałe dowolne małej mocy. Pierwszy stopień m.cz dobrze jest zrobić na tranzystorze niskoszumnym. Rezystory i kondensatory mogą być dowolnego typu. Pojemność kondensatorów C12, C16 - C20 jest niekrytyczna i może być zmieniany 2-3 razy. Pojemność kondensatorów C4,C5 i C15 można zwiększyć 2-3 razy. Wystarczy zastosować części z dokładnością do 20%
Cewki L1, L2, L3, L4, L5, nawinięte są na karkasach cylindrycznych o średnicy 8-9 mm, dostrojone za pomocą rdzeni wykonanych z żelaza węglowego. Cewki L2, L3, L5 zawierają 35 zwojów licy 21 x 0,07, długość uzwojenia 10 mm. W przypadku braku licy można nawinąc drutem emaliowanym o średnicy 0,3-0,4 mm. Cewki sprzęgające L1, L4 są zrobione drutem w o średnicy 0,15-0,25 mm w pobliżu cewek L2, L5 na tych samych karkasach. Każda zawiera 10 zwojów, długość uzwojenia 2 mm. Cewki rezonansowe mocowane są za pomocą kleju. Cewki sprzęgające należy nawinąć na pasku folii aby można je było przesuwać wzdłuż karkasu i zmieniać sprzężenie z cewkami rezonansowymi. Transformatory T1, T2 i T3 pochodzą ze starych odbiornika kieszonkowego z lat 60-70. T2 jest transformatorem przejściowym, a T1 i TK są transformatorami wyjściowymi. W T1 stosuje się tylko uzwojenie pierwotne. Cewka filtra jest nawinięta na kubek ferrytowy o średnicy 12-18 mm z przepuszczalnością magnetyczną 2000. Zawiera 300 zwojów odpowiedniego drutu. Można ją wykonać z połowy cewki pierwotnego uzwojenia transformatora wyjściowego z tranzystorowego odbiornika kieszonkowego.

Konstrukcja odbiornika pokazano na rys.

İmage


Panel przedni wykonany z płyty duraluminium 200 x 80 mm mieści kondensator strojący C8, gniazda od X1 do X4 oraz pokrętło głośności K7. Głębokość obudowy wynosi 110 mm. PCB 200 x 55 mm.

Strojenie odbiornika rozpoczyna się od sprawdzenia pracy tranzystorów. Prąd spoczynkowy stopnia wyjściowego ustawia się w zakresie 3–6 mA, zmieniając rezystor R9. Napięcie na emiterze tranzystora U7 powinno wynosić 1,5-2 V. Jest regulowane przez zmianę rezystora R6. Po dotknięciu zacisków cewki filtra L6 w słuchawkach powinien być słyszalny silny dźwięk wskazujący na normalne działanie ULF. Powinien być słyszalny cichy szum pierwszego stopnia. Trzeba sprawdzić obecność generacji i ustawić częstotliwość lokalnego oscylatora, słuchając jego sygnału na odbiorniku fal średnich. Podłącz antenę, wyreguluj cewki L2 i L3, a także wyreguluj połączenie między cewkami L1, L2 i L4 i L5 przy maksymalnej głośności odbioru. Robiąc to najlepiej w nocy, w środku pasma 160 m gdy słychać wiele stacji amatorskich. Przydatna jest również możliwość regulacji odległości między karkasami cewek L2 i L3 - dla uzyskania optymalnego połączenia obwodów filtra wejściowego. Aby uzyskać pasmo przepustowe 100 kHz, cewki powinny znajdować się dość blisko siebie. Regulując rezystor R1 i nieznacznie zmieniając położenie cewki sprzęgającej L4, osiąga się maksymalne tłumienie górnej wstęgi bocznej.
Po odpowiedniej regulacji, przy 800 Hz i 2 kHz pojawiają się „nieskończone” punkty tłumienia, w których dochodzi do osłabienia sygnału 40 dB (100 razy napięcie) i więcej. Trzy „górki” tłumione przy częstotliwościach około 300 Hz, 1,5 kHz i 3,3 kHz osiągają poziom 24 dB (tłumienie 16-krotność napięcia). Za pomocą generatora i oscyloskopu można skonfigurować odbiornik jeszcze dokładniej. Sekwencja operacji pozostaje to samo. Dobierając elementy (C13 - C15 i C17, a także liczba zwojów cewki filtra L6 pasmo przenoszenia wzmacniacza m.cz powinna wynosić 500-2600 na poziomie - 3 dB.

Początkowo odbiornik może współpracować z dowolną antena zastępcza, ale do odbioru na duże odległości zaleca się stosowanie anteny zewnętrznej o długości około 40 m (ćwierćfalówka). Obudowa odbiornika musi być uziemiona.
Poziom sygnały z anteną zewnętrzną mogą być za duże, bedzie potrzebny tłumik wejściowy. Można zastosować potencjometr o rezystancji 5-10 k,. Pokrętło rezystora znajduje się na panelu przednim w pobliżu gniazda antenowego.

73 JERZY SQ9RFC
05-01-2020 18:08
Znajdź wszystkie posty użytkownika Odpowiedz cytując ten post
Odpowiedz 


Wiadomości w tym wątku
Najprostszy RX jednowstęgowy Polyakova. - SQ9RFC - 05-01-2020 18:08

Skocz do:


Użytkownicy przeglądający ten wątek: 1 gości