Odpowiedz 
 
Ocena wątku:
  • 7 Głosów - 4.14 Średnio
  • 1
  • 2
  • 3
  • 4
  • 5
Składamy wzbudnicę SSB G4CLF
SP9LVZ Offline
Piotr
*****

Liczba postów: 807
Dołączył: 13-01-2015
Post: #250
RE: Składamy wzbudnicę SSB G4CLF
Wojtku,... co do odsłuchu bez anteny, a dokładniej na samej płytce bez obwodów wejściowych, to z powielaniem heterodyny x 4 na ICS502, jest bardzo dobrze nie odczuwam słuchowo śmieci. Aczkolwiek moja ocena czy jest lepiej jest o tyle trudna, że ja na samej syntezie nie odczuwałem śmieci,... Zaznaczam, że wykorzystuję w syntezie tą małą płytkę "chińską" DDS która ma filtr sygnału LC na płytce. Być może przez to sygnał jest lepszy niż z samego wyjścia z układu AD9850, np. tak, jak jest pobierany sygnał w syntezie DJ4JAL. Teraz, gdy słuchałem z wykorzystaniem ICS502 zauważyłem jednak bardzo silny prążek na częstotliwości 2 kHz poniżej 21,000 MHz. To mnie zaniepokoiło, bo jednocześnie odczuwam spadek odporności intermodulacyjnej w paśmie 21 MHz, nie wiem czy to ten nieszczęsny prążek nie przyczynia się do tego. Muszę dojść do tego z czego jest generowany. Dziś pracowały na 21 MHz bardzo silne stacje z K (wychodziły u mnie 59++ bez przedwzmacniacza) ale w tle słyszałem zakłócenia intermodulacyjne. Na pozostałych pasmach jest bez tych zakłóceń. Na dzień dzisiejszy nie jestem przekonany do tego rozwiązania z ICS502 i chyba jedyna próba to dwa DDSy i przełączanie naprzemiennie z odsłuchem w której wersji jest lepszy odsłuch. Natomiast plusem zastosowania ICS502, jest przejście w pasmach od 10 MHz w górę do ustawienia sygnału heterodyny powyżej pasm (w wersji na samym DDS miałem poniżej pasm, by uzyskiwać jak najniższe częstotliwości generowane z DDSa). Nie zdążyłem zrobić jeszcze próby przy nadawaniu z wykorzystaniem tego ICS502, zobaczę w tygodniu jak z synałem nadajnika.
___________________________________
Romku,... moja rada, to nie kupować elementów smd w ilościach pod "płytkę" tylko tani zestaw typoszeregu R i C, które mają wszystkie potrzebne wartości. Później zaczniesz montować kolejne podzespoły (synteza, obwody wejściowe,... inne) i okaże się że potrzeba kolejnych elementów. Najlepiej zastanowić się nad całością TRX, a dopiero potem planować zakupy najlepiej od jednego dostawcy. Ja kupuję w większości przez Internet i najwięcej czasami wychodzi zapłacić za wysyłki niż za elementy.
___________________________________
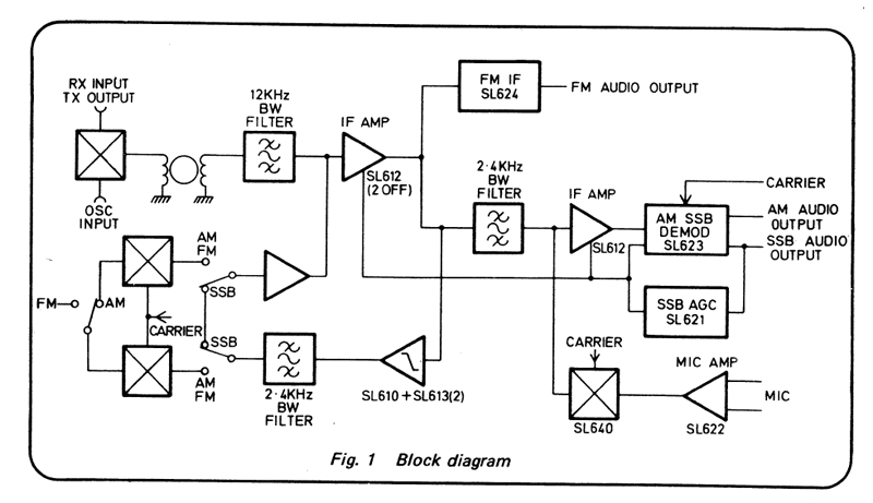
Jerzy..., co do pytania o SL1624, co cóż mam odpowiedzieć?.... jak można przeczytać z kart katalogowych, teoretycznie jest do FM, AM i SSB... ale jak widać na załączonym schemacie, wykorzystywany jest w aplikacjach do FM, bo nie da się jednocześnie do wszystkiego (problem z szerokością pasma i koniecznością wzmocnienia z ogranicznikiem amplitudy sygnału FM przed demodulacją). W naszej płytce pozostajemy przy zastosowaniu SL641 lub SL640 jaki kto posiada.
Ja mam w praktyce opanowany następujący układ RX od demodulatora SSB: NE612 (z zewnętrznym BFO) dalej NE5534 dalej TBA820 (jako wzmacniacz słuchawkowy lub małej mocy głośnikowy). Pracuje taka konfiguracja bardzo dobrze z niskimi szumami własnymi. A jeśli mam używać same słuchawki (np. trx do CW), to mam do tego układ wzmacniacza na tranzystorach, po podłączeniu do niego słuchawek praktycznie nie słuchać grama szumu. Pracując na radiostacji w domowych warunkach praktycznie w 99% słucham na słuchawkach.
İmage
(Ten post był ostatnio modyfikowany: 08-03-2015 23:00 przez SP9LVZ.)
08-03-2015 22:51
Odwiedź stronę użytkownika Znajdź wszystkie posty użytkownika Odpowiedz cytując ten post
Odpowiedz 


Wiadomości w tym wątku
RE: Składamy wzbudnicę SSB G4CLF - SP9LVZ - 08-03-2015 22:51

Skocz do:


Użytkownicy przeglądający ten wątek: 7 gości